Firmados los
contratos, es decir, establecidas las “reglas del juego”, se procede al
reparto por parte del profesorado de la torre: se asigna una zona de
trabajo dentro de la misma para cada equipo de alumnos y uno de los 35
programas sobre los cuales trabajar. Para esta parte del proceso
resulta imprescindible el análisis escrupuloso de los planos
normativos. Cada alumno cuenta entonces con una zona delimitada, en la
que aparece una base cartográfica de preexistencias, que no
necesariamente se corresponde con los que él ha elaborado, unos planos
normativos que determinan la localización de bypasses, zonas de
programa público y privado y lo que fomenta realmente la negociación,
que son unos solapes entre las zonas delimitadas. La herramienta de
negociación es la de citas rápidas o “speed dating”, volviendo a situar
al alumnado fuera de la situación conocida y obligándole a actuar con
rapidez. Se tomarán decisiones de reparto de la zona de solape, de
realización conjunta, de programas complementarios, etc... en función
de los intereses de las partes.
VIDEO YOUTUBE:
Negociaciones de Madrid
VIDEO YOUTUBE:
Negociaciones de Seúl
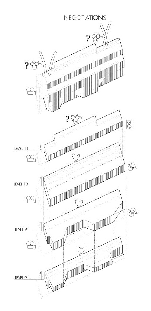
Once contracts are
signed and tower areas are distributed collaborative work begins.
Distribution has a double objective. On one hand, put in location
already made map. On the other hand, reinforce mentiones
“uncomfortability”. The last is achieved thanks to overlapping
outlines, which are to be solved by negotiating, materialized in a
“speed dating” format. Conflict points, collaborative work among teams
and free assignments take place during this step of the process.
Each participant has then a precise zone, a normative map, both
extensive and intensive outlines and a series of stipulations about
methodology.
Negociaciones / Negotiations (Inés Jiménez)
Negociaciones
/ Negotiations (Sabrina Ruiz)
Negociaciones
/ Negotiations (Sabrina Ruiz)

Negociaciones
/ Negotiations (Gemma Díaz)

Negociaciones /
Negotiations (Gemma Díaz)